Produse Noi
TIRANT LATERAL HIDRAULIC - FIAT - NEW HOLLAND 60/30MIN.570 TIP (1) Φ 47/22
Uporaba pentru tractoare:
Tip tractor:
FIAT-NEW HOLAND
Model tractor:
TND65 - TND75 - TND90 - TN 60 A
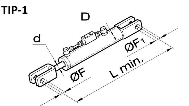
Descriere generală:
HIDRAULICĂ DVIŽNĂ POTEZNICĂ (eng. top side link sau side third point, germ. seitliche hubstrebenverstellung) este în esență un cilindru HIDRAULIC cu acțiune dublă, cu conectori sudati pentru montaj pe brațele hidraulice ale tractorului. Servește pentru ajustarea individuală a înălțimii brațelor sistemului hidraulic cu trei puncte. Poate fi folosit și pentru întărirea suplimentară a brațelor sau pentru creșterea capacității de încărcare.
Toate HIDRAULICE DVIŽNE POTEZNICE au instalat și un bloc de vană, care servește pentru siguranță (în cazul deteriorării furtunului hidraulic, cilindrul poteznicei rămâne în aceeași poziție, astfel și conectorul tractorului). Blocul de vană servește de asemenea pentru a menține furtunurile fără presiune, astfel încât în timpul deplasării, din cauza vibrațiilor, să nu suprasolicite VANA HIDRAULICĂ de pe tractor.





